







Поворотный клапан VU
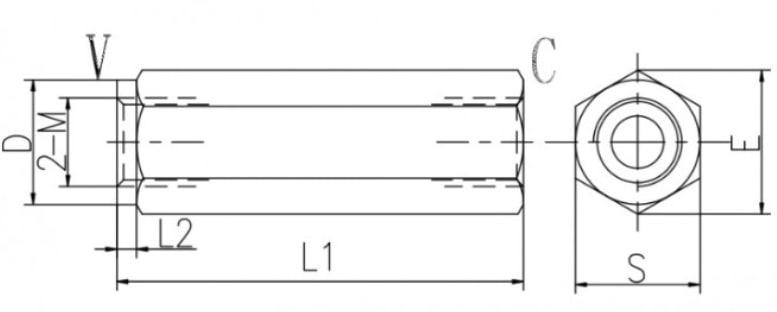
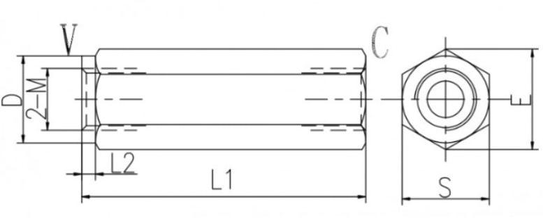
Обратный клапан высокого давления свободно пропускает поток только в одну сторону. Давление открытия клапана устанавливается при производстве обратного клапана и не может изменяться при эксплуатации








Обратный клапан высокого давления свободно пропускает поток только в одну сторону. Давление открытия клапана устанавливается при производстве обратного клапана и не может изменяться при эксплуатации
Обратный клапан высокого давления свободно пропускает поток только в одну сторону. Давление открытия клапана устанавливается при производстве обратного клапана и не может изменяться при эксплуатации